| নং | শিরোনাম | সেবার ধাপ | কার্যকলাপ |
|---|---|---|---|
| | |||
| ১ | পুনর্বাসন ও উপকরণ সহায়তা | দেখুন | |
| ২ | প্রাণিজাত উৎপাদিত পণ্য বিক্রয় | দেখুন | |
| ৩ | ফ্লু ক্ষতিপুরণ প্রদান | দেখুন | |
| ৪ | ঋণ বিতরণ | দেখুন | |
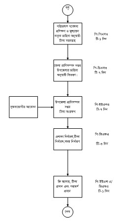
| ৫ | প্রশিক্ষণ | দেখুন | |
| ৬ | গবাদিপশুর টিকাদান ও হাঁস-মুরগীর টিকাদান | দেখুন | |
| ৭ | কৃত্রিম প্রজনন সম্প্রসারণ | দেখুন | |
| ৮ | গবাদিপশুর চিকিৎসা প্রদান | দেখুন |